10月28日,国网新能源云平台公示江西公示机制电价竞价结果,并公布详细入围名单。
结果显示:共433个项目入围,机制电量总规模595.401GWh,出清价格0.33-0.375元/kWh,其中。
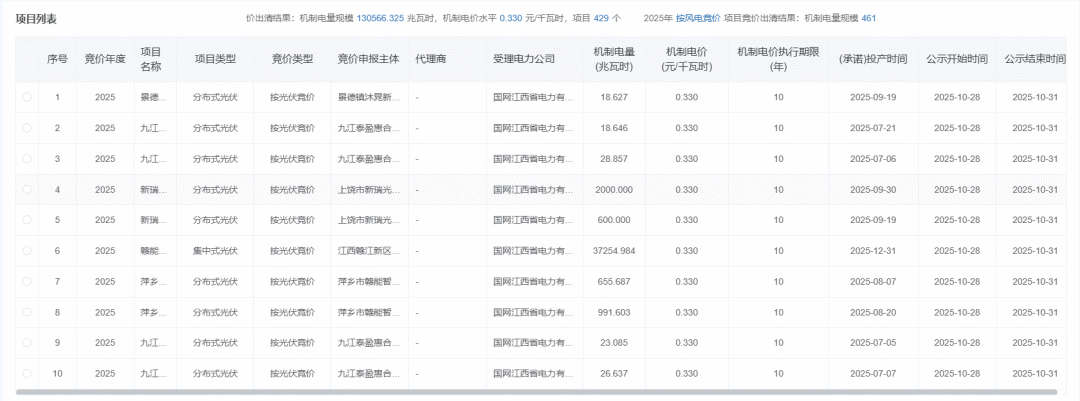
光伏项目:429个项目入围,出清价格0.33元/kWh。其中分布式光伏427个,机制电量规模72.375GWh;集中式光伏2个,机制电量规模61.284GWh;
风电项目:4个项目入围,出清价格0.375元/kWh,全部为集中式陆上风电项目,机制电量规模461.742GWh。
10月9日,国网江西省电力有限公司发布《江西省2025年新能源机制电价首次竞价组织公告》。竞价电量总规模为11.6亿千瓦时,其中光伏5.9亿千瓦时、风电5.7亿千瓦时,设置申报充足率下限为125%,单个项目申报比例上限则为65%。
电价方面,风、光竞价上限为0.38元/千瓦时,下限为0.24元/千瓦时,执行期限10年。
部分竞价结果如下:

