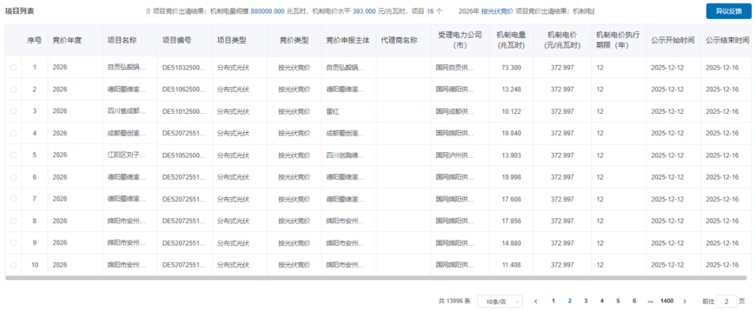
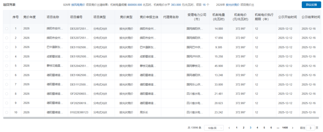
12月12日,国网新能源云公示四川省机制电价竞价结果。
根据公示,2026年按光伏竞价项目竞价出清结果:机制电量规模4140000.000兆瓦时,机制电价为372.997元/兆瓦时,项目13980个。
2026年按风电竞价项目竞价出清结果:机制电量规模880000.000兆瓦时,机制电价为393.000元/兆瓦时,项目16个。
根据四川136号文竞价文件,光伏机制电量规模为41.4亿度电,风电机制电量规模为8.8亿度电,总计50.2亿度。机制电价上限为0.4012元/度,下限为0.2元/度,执行期限12年,单体申报上限则为80%。
具体见下:


