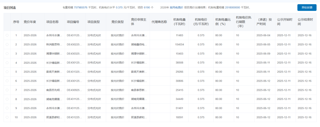
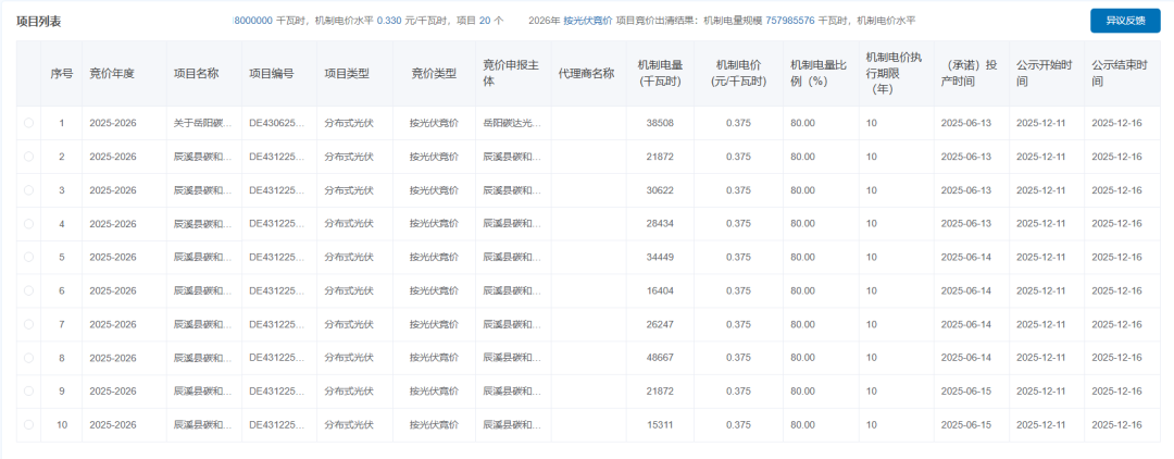
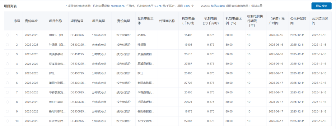
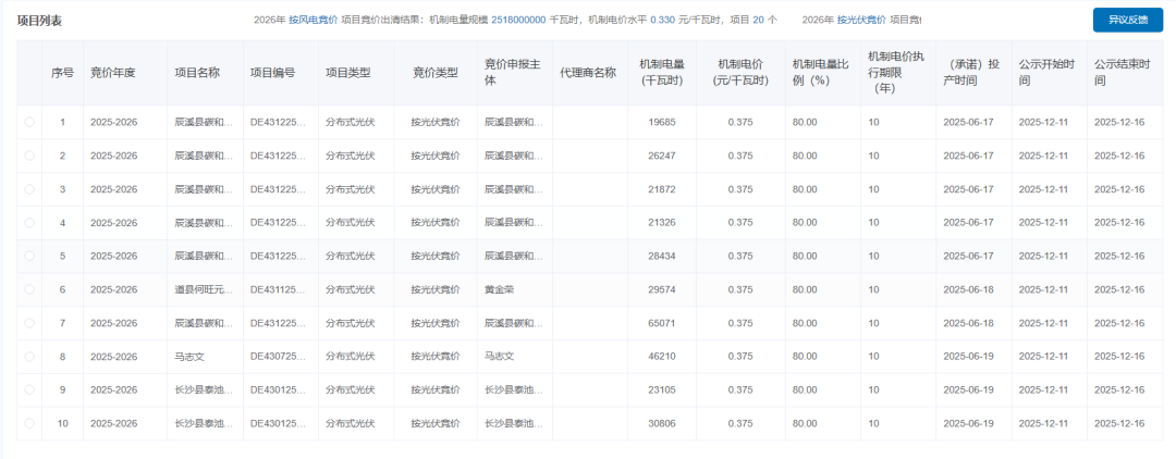
12月11日,湖南省机制电价竞价结果公示,光伏机制电价为0.375元/度,风电机制电价为0.33元/度。
根据竞价结果,光伏机制电量为757985576度,入围项目6190个,其中集中式光伏仅6个;风电共20个项目入围,机制电量为2518000000度。
根据竞价文件,新增纳入机制电价竞价范围的电量规模为33.76亿千瓦时(按全年计算,下同)。其中,风电25.18亿千瓦时、光伏8.58亿千瓦时。按风电、光伏两个项目组,分别组织竞价、出清。竞价主体为2025年6月1日至2026年12月31日全容量投产的风电、光伏项目。
单个项目机制电量比例上限为80%;风电、光伏竞价上限均为0.38元/千瓦时,竞价下限均为0.26元/千瓦时。
风电、光伏机制电价执行期限均为10年,风电、光伏竞价申报充足率下限均为125%。
从机制电量使用情况来看,光伏机制电量未使用完,风电机制电量则100%使用。从价格来看, 光伏基本贴近价格上限,但据燃煤标杆价仍有15.6%的降幅。
具体项目清单如下:



