重庆新能源机制电价竞价结果:风电0.3961元/度,光伏0.3963元/度

2025-12-08 11:30:03 / 0阅读

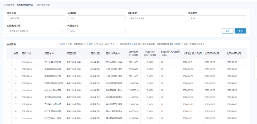
12月8日,国网重庆发布2025-2026年增量新能源机制电价竞价结果公示。

根据公示,重庆首轮增量新能源竞价光伏机制电价高于风电。

首轮按风电竞价出清结果:机制电价0.3961元/千瓦时,项目17个,机制电量规模20.7461亿千瓦时。其中集中式风电项目14个,分散式风电3个。

按光伏竞价出清结果:机制电价0.3963元/千瓦时,项目3865个,机制电量规模17.0198亿千瓦时。

重庆新能源机制电价竞价结果:风电0.3961元/度,光伏0.3963元/度


本站声明:本文内容由互联网整理而来,版权归原作者所有,本站不承担相应法律责任。如您发现有涉嫌抄袭侵权的内容,请联系han52036@126.com。
转载请注明出处:https://www.xlkne.com/ziyuan/707.html

大家都在搜数据来源百度热搜

  • 正在加载热搜数据...