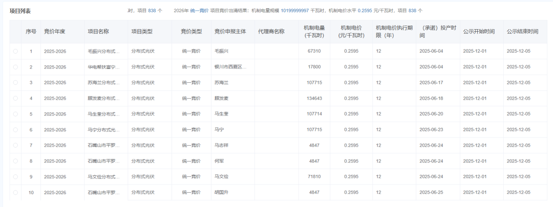
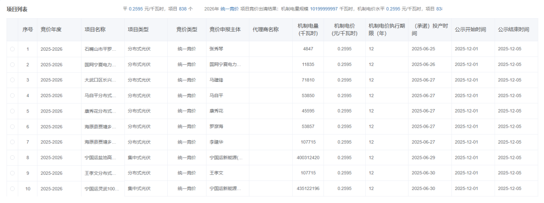
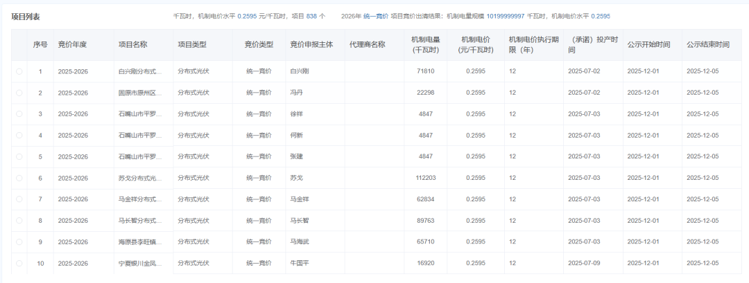
12月1日,宁夏机制电价竞价结果公示,机制电价0.2595元/度,机制电量102亿度电,入围项目838个。
根据竞价结果来看,入围集中式光伏25个,集中式风电项目16个,其余全部为分布式光伏以及分散式风电项目。
根据宁夏136号文竞价文件来看,机制电量总规模为102亿千瓦时。
价格上下限:风电、光伏竞价上限均为0.2595元/千瓦时,下限均为0.18元/千瓦时。
申报充足率:风电、光伏竞价申报充足率不低于125%。
可申报电量上限:单个项目机制电量申报上限比例为65%。
对比机制电价竞价结果以及机制电量来看,宁夏机制电量使用比例达到100%,电价则按照上限出清。
具体见下:


