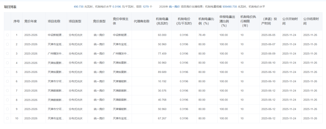
11月24日,天津公示2025—2026年度机制电价竞价结果,机制电价0.3196元/度,入围项目1279个,机制电量939490.735兆瓦时。
根据竞价结果来看,天津本次入围的集中式光伏项目共9个,陆上风电4个,其余项目均为分布式光伏。
根据,2025年机制电量总规模为40亿千瓦时;若参与竞价的新能源项目申报总电量未达到50亿千瓦时,自动将机制电量总规模按照申报总电量除以125%进行调整。
竞价上限为0.32元/千瓦时,不设置竞价下限,机制电价执行期限为10年。
从竞价结果来看,天津机制电价同样为上限报价,从入围电量来看机制电量总规模为40亿度电,但最终入围仅9.4亿度左右,不足1/4。



