上海机制电价结果:风、光均0.4155元/度,入围2039个项目、5.37亿度电量

2025-11-24 09:49:00 / 0阅读

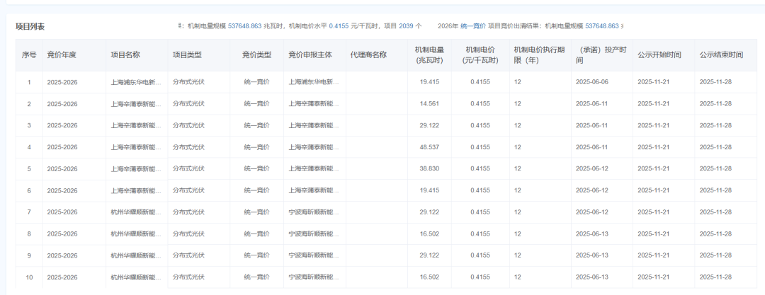
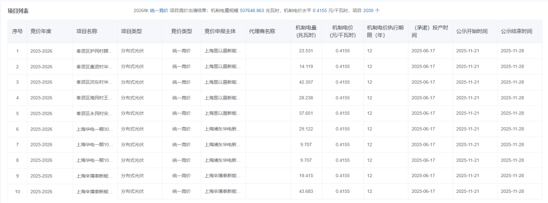
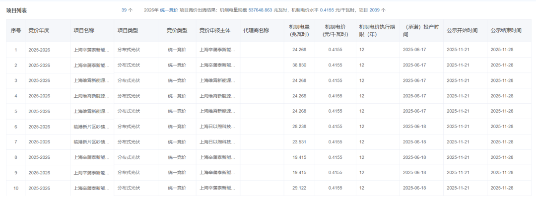
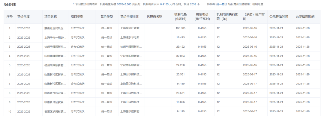
11月24日,上海市2025—2026机制电价竞价结果公示,机制电价0.4155元/度,入围项目2039个,机制电量537648.863兆瓦时。

根据竞价结果来看,集中式光伏入围10个,陆上风电项目2个,其余项目均为分布式光伏。

根据上海市136号文竞价要求,机制电量规模为22亿度,申报充足率为120%,单体项目申报上限为90%。

具体电价方面,申报上限为0.42元/度,下限为0.2182元/度,执行期限12年。

从竞价结果来看,机制电价几乎为上限报价。

图片

图片

图片

图片


本站声明:本文内容由互联网整理而来,版权归原作者所有,本站不承担相应法律责任。如您发现有涉嫌抄袭侵权的内容,请联系han52036@126.com。
转载请注明出处:https://www.xlkne.com/ziyuan/836.html

大家都在搜数据来源百度热搜

  • 正在加载热搜数据...