浙江机制电价竞价结果:电价0.3929元/度,全部为集中式光伏

2025-12-08 15:13:26 / 0阅读

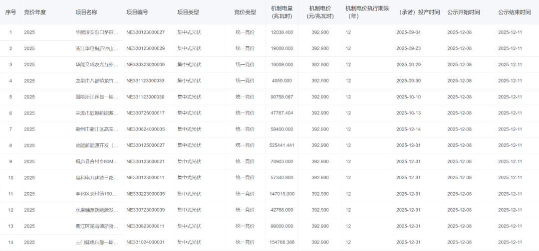
12月8日,国网新能源云公示浙江省机制电价竞价结果,0.3929元/度,入围项目共14个,机制电量为13.57亿度电。

根据浙江省136号文竞价文件,本次竞价主体范围为2025年6月1日(含)至2025年12月31日(含)全容量投产的新能源项目。机制电量总规模为光伏发电147.4万兆瓦时,单体申报比例上限为90%。

机制电价申报价格上限为393元/兆瓦时(0.393元/千瓦时),申报价格下限为242元/兆瓦时(0.242元/千瓦时)。

具体见下:

图片



本站声明:本文内容由互联网整理而来,版权归原作者所有,本站不承担相应法律责任。如您发现有涉嫌抄袭侵权的内容,请联系han52036@126.com。
转载请注明出处:https://www.xlkne.com/ziyuan/702.html

大家都在搜数据来源百度热搜

  • 正在加载热搜数据...