青海2026年机制竞价结果公示:光伏0.227元/度、风电0.24元/度,电量规模14.5亿度

2025-12-09 11:56:04 / 0阅读

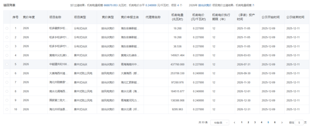
12月9日,青海公示2026年青海省新能源机制电价竞价结果。

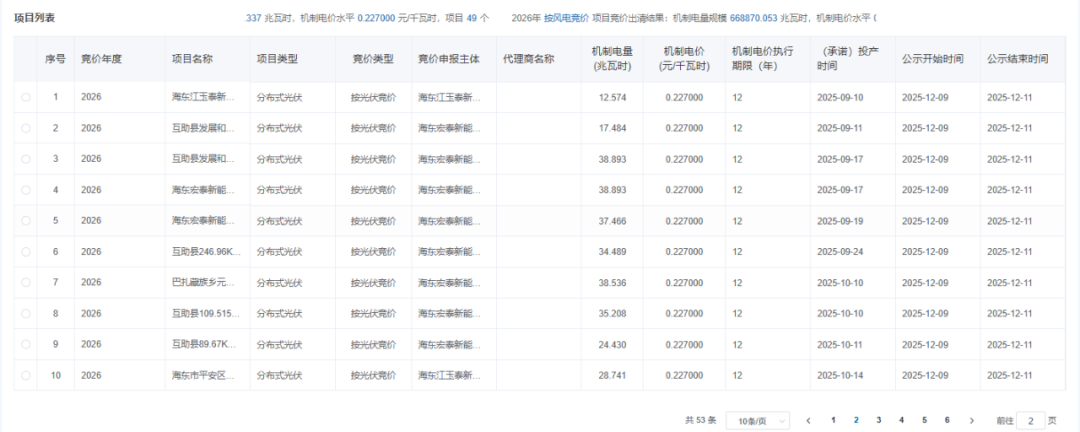
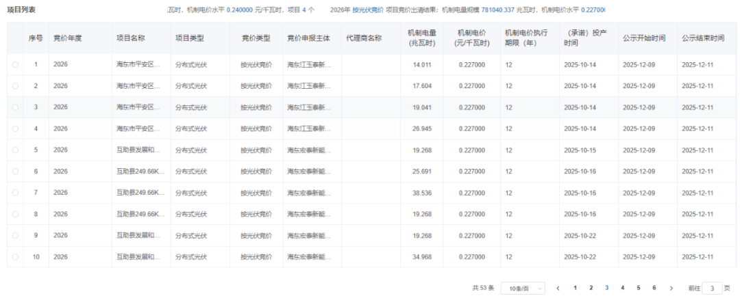
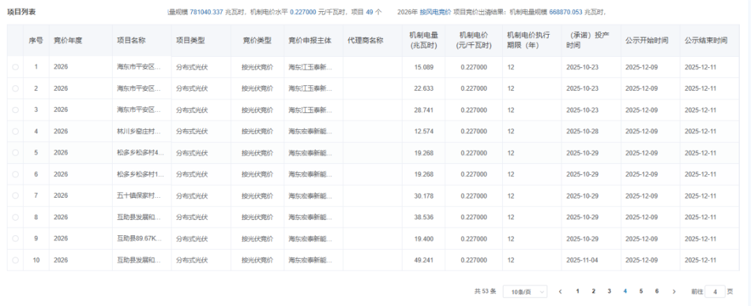
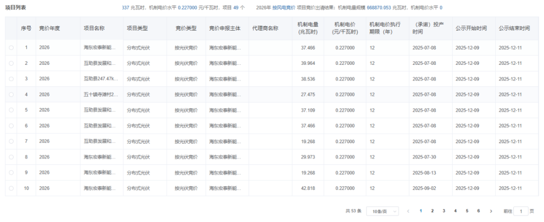
光伏机制电价0.227元/度,入围项目49个,包含6个集中式光伏项目,机制电量规模781040.337兆瓦时。

风电机制电价0.24元/度,入围项目4个,机制电量规模668870.053兆瓦时。

图片

图片

图片

图片

图片

图片


本站声明:本文内容由互联网整理而来,版权归原作者所有,本站不承担相应法律责任。如您发现有涉嫌抄袭侵权的内容,请联系han52036@126.com。
转载请注明出处:https://www.xlkne.com/ziyuan/703.html

大家都在搜数据来源百度热搜

  • 正在加载热搜数据...